Digital gadget fans and smartwatch owners would be amused if not impressed at this idea of being able to charge the smartwatch by winding it.
Well, patent filings triggered such talk of a future Apple watch enabling charging by winding the digital crown whereby the turns of the crown is converted into energy.
Ben Lovejoy in 9to5Mac pointed out that “It doesn’t appear to be intended as a primary means of charging the Watch, but rather a way to keep the Watch alive with a boost while on the move.”
So it would be an added concept to the crown as, according to Patently Apple, “an added boost of power when it’s running low.”
Gerald Lynch in TechRadar said the system described “could be adapted to support both navigation and power generation.”
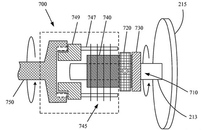
PhoneArena: The patent is titled “Connector-free magnetic charger/winder”, presenting implementations of what is essentially a centuries old idea, but applies it to modern devices such as the Apple Watch.
Published by the U.S Patent and Trademark Office, it was filed in August last year and there was a related document filed back in 2014.
The patent application credits two inventors, John Baker and Fletcher Rothkopf.
According to the abstract, this is the following: “A method and apparatus for charging an electronic device include rotating a magnetically attractable element, or element, within the electronic device. Rotating a magnet external to the electronic device simultaneously rotates the element. Rotating the element causes an electrically generating device, such as a generator, to create an electric charge in the electronic device. The electric charge may be used to power the electrically generating device, or the electric charge may be transmitted to an internal power supply in order to charge another component or components. In another embodiment, the external magnet may wind a spring inside a device.”
Lynch in TechRadar said that “It’s not the first time Apple’s explored the area it would seem, with the filing acting as a continuation of an earlier patent. The coil component driving the power generator seems the part Apple is most keen to protect with this latest filing.”
Patently Apple said Thursday, “An amateur patent writer this morning mistook today’s patent published by USPTO as an original patent rather than one that has already been granted and simply revisited by Apple. But if you missed the original report, it’s an interesting invention to review..”
Mikey Campbell in AppleInsider: “Interestingly, the filing is a continuation of a patent granted in 2014 describing an identical power generation system. Unlike the older IP, however, claims in the document published today concentrate on the coil element that in some embodiments drives the charge generator.
The patent document said that “This application is a divisional of U.S. application Ser. No. 14/263,949, filed April 28th, 2014, of the same title, the contents of which are incorporated herein by reference in their entirety for all purposes.”
Vikas Shukla’s remark in ValueWalk reflected the thoughts that were also voiced elsewhere, that this news is focused in the world of patent talk. “It’s worth pointing out that Apple files hundreds of patents every year, and not all of them make it into final products,” said Shukla.
Campbell said, “Whether Apple plans to implement the invention in a future device is unknown, but the company is obviously working to refine the technology.”
More information: TechXplore
